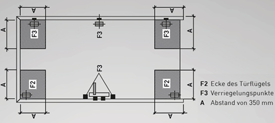
Mehrfachverriegelung
Generell gilt: Je länger und dicker die Riegel sind, desto schwerer kann die Tür mit Werkzeugen aufgebrochen werden. Hakenschwenkriegel erhöhen die Sicherheit noch weiter, da sie sich in die dafür vorgesehenen Schließstücke in der Zarge einhaken. So kann der Einbrecher sie auch mit Hebelwerkzeugen kaum greifen und aus dem Schließblech lösen. Wer besonders großen Wert auf ein sicheres Schloss legt, kann sich für eine Schlossanlage mit Mehrfachverriegelung entscheiden.
Solche Anlagen kombinieren mehrere Schlösser miteinander, um so den Schutz zu maximieren. Mögliche Modelle sind zum Beispiel Anlagen mit Profilzylinder-Wechselschlössern und Schwenkriegelschössern oder mit Profilzylinder-Wechselschlössern, Schwenkriegelschössern und zusätzlichen Bolzen.
Das Wechselschloss leitet seinen Namen aus der Tatsache ab, dass hierbei der Schlüssel seine Funktion wechselt. Nachdem er den Riegel zurückgezogen hat, bedient er die Falle. Dieser Mechanimus ist besonders wichtig für Türen, die nur auf einer Seite einen Drücker haben. Schwenkriegelschlösser unterscheiden sich dadurch von anderen Schlössern, dass ihr Riegel nicht waagerecht in das Schließblech eingreift, sondern z.B. von unten nach oben einschwenkt. Je nach Ausführung gibt es Schwenkriegel auch mit Sägeschutz.
Zylinderschloss und Zuhaltungsschloss
Müller (2017) nennt als wichtigste Beispiele für einbruchhemmende Schlösser Zylinderschlösser und Zuhaltungsschlösser. Beides sind Einsteckschlösser, werden also im Inneren der Tür positioniert und sind so, im Gegensatz zum aufgeschraubten Kastenschloss, weniger angreifbar.
Zylinderschloss
Dieses Schloss arbeitet nach dem Prinzip der Funktionstrennung. Der Schließzylinder bewegt den Riegel bzw. die Falle und unterbindet den Einsatz falscher Schlüssel und andere Manipulationsversuche. Die eigentliche Verriegelung übernimmt das Schloss. Zylinderschlösser gibt es in unterschiedlichen Ausführungen, von einfachen Sicherheitsschlössern über gepanzerte Varianten bis hin zu komplexen Systemen mit elektronischen Sicherungselementen.
Zuhaltungsschloss
Zuhaltungsschlösser sind eine Weiterentwicklung des einfachen Buntbartschlosses. Sie verfügen über mehrere Sperrzuhaltungen im Inneren, in die der gezackte Schlüsselbart eingreifen kann. Er hebt die Zuhaltungen und bewegt den Riegel. Um einbruchhemmend zu wirken, sollte ein solches Schloss mindestens über fünf symmetrische oder asymmetrische Zuhaltungen verfügen.
Generelle Hinweise
Bei Auswahl und Einbau des Schlosses sollten einige generelle Punkte berücksichtigt werden:
Befestigungsschrauben
Müssen ausreichend dimensioniert sein. Ein Durchmesser von mind.5 mm und eine Länge von mind. 45 mm sind wünschenswert.
Fallensperre
Schlösser mit Fallensperre sind zu bevorzugen, denn Fallensperren wirken wie Riegel und blockieren die Tür, auch wenn der Nutzer sie nicht abgeschlossen hat. Sie verteilen außerdem die Belastung im Falle eines Einbruchversuches gleichmäßig auf Falle und Riegel.
Riegel
Der Riegel sollte mind. 10 mm hinter den Stulp reichen und der Riegelausschluss sollte mind. 20 mm betragen, sonst greift er nicht tief genug in das Schließblech ein.